色选机种类繁多,型式各种各样,决定了其结构系统上的不同,如塑料色选机、杂粮色选机、茶叶色选机等等。虽然,色选机都是由光学系统、供料系统、分选系统、电控系统组成,但是其结构上却有巨大的差异。本文就色选机的光学系统进行讨论,以便色选机进行产品检测时,获取准确无误的分选信息,并提高色选机的色选质量和效率。
一、图1为常见的单色光检测光学系统,采用合格品和瑕疵品反射光能量有明显差异的一段光谱进行检测判断,该系统既可用于反射光检测,又可用于透射光检测。

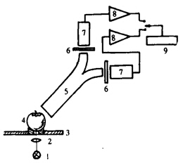
二、图2也是一种单色光检测光学系统,一个分叉导纤维4替代了光管等结构。

三、在采用一段光谱难以将合格品与瑕疵品完全区分开来时,就需要采用两端光谱对物料进行检测,即双色光检测。

四、图4是一种用于紫色浆果色选的光学系统。

五、图5是利用双色光对黄绿色果实进行色选的光学系统,由输送带、广元、分叉光纤、滤光片、接收器组成。

六、图6的光学系统采用了一个三叉管光纤3.一只叉管用于照明,光源4发出的光可通过这只叉管传送到被测物2表面;另两只叉管用于接收被测物2的反射光,并分别经滤光片5滤过550mm和660mm的色光接收器6处理。

七、图7所示光学系统由3组相同间隔120度布置的检测系统构成,每组各有一个光源和检测光管,被测物3从中通过。
返回《技术支持》